- 質量穩定:實行全過程質量監控,細致入微,全方位檢測!
- 價格合理:高效內部成本控制,減少了開支,讓利于客戶!
- 交貨快捷:先進生產流水線,充足的備貨,縮短了交貨期!
- 銷售:021-66059666
- 傳真:021-39901228
- 技術:021-39900466
產品說明
GL41F3-16C、GL41F46-16C 全襯里(襯氟)Y型過濾器閥體內部構件均為襯里部件,使產品在幾乎所有強酸、強堿、鹽、強氧化劑和有機溶劑等介質中均能適用。
產品性能參數
| 型號 | PN | 工作壓力 (MPa) |
|---|---|---|
| GL41F3-16C | 16 | 1.6 |
| GL41F46-16C |
返回頁首 ⇑
產品零部件材料
| 型號 | 材料 | |||
|---|---|---|---|---|
| 閥體、閥蓋 | 過濾網 | 螺栓、螺母 | 襯里層 | |
| GL41F3-16C | HT250、WCB | PTFE(F4) | 35、45 | FEP(F46)、PCTFE(F3) |
| GL41F46-16C | ||||
返回頁首 ⇑
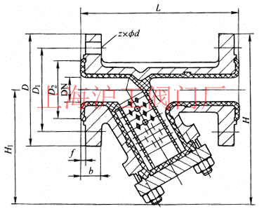
產品外形及結構尺寸(PN16)
| DN | DN/in | L | D | D1 | D2 | b | f | z×ø | H1 | H | 重量/kg |
|---|---|---|---|---|---|---|---|---|---|---|---|
| 20 | ¾ | 150 | 105 | 75 | 55 | 16 | 2 | 4×ø14 | 70 | 122 | 3.3 |
| 25 | 1 | 160 | 115 | 85 | 65 | 16 | 2 | 4×ø14 | 78 | 135 | 4.2 |
| 32 | 1¼ | 180 | 135 | 100 | 78 | 18 | 2 | 4×ø18 | 86 | 154 | 6.6 |
| 40 | 1½ | 200 | 145 | 110 | 85 | 18 | 3 | 4×ø18 | 92 | 164 | 7.3 |
| 50 | 2 | 230 | 160 | 125 | 100 | 20 | 3 | 4×ø18 | 102 | 182 | 12 |
| 65 | 2½ | 290 | 180 | 145 | 120 | 20 | 3 | 4×ø18 | 115 | 205 | 16 |
| 80 | 3 | 310 | 195 | 160 | 135 | 22 | 3 | 8×ø18 | 135 | 232 | 23 |
| 100 | 4 | 350 | 215 | 180 | 155 | 24 | 3 | 8×ø18 | 156 | 263 | 32 |
| 125 | 5 | 400 | 145 | 210 | 185 | 26 | 3 | 8×ø18 | 248 | 370 | 39 |
| 150 | 6 | 480 | 180 | 240 | 210 | 28 | 3 | 8×ø18 | 285 | 425 | 52 |
| 200 | 8 | 495 | 335 | 295 | 265 | 30 | 3 | 12×ø23 | 362 | 530 | 89 |
返回頁首 ⇑
產品外形及結構尺寸示意圖

返回頁首 ⇑
聲明:本文中所有文字、數據、圖片均只適用于參考,GL41F3-16C、GL41F46-16C 全襯里(襯氟)Y型過濾器性能參數、結構尺寸參數、價格等詳情,請聯系我們,電話:021-66059666。